WCS18A系列霍爾電流傳感器能在原邊、副邊完全隔離條件下測 量直流、交流、脈沖以及各種不規則波形的電流。

特性:精度高、線性度好、低溫漂 、頻帶寬、響應時間快 、抗干擾能力強、過載能力強、附加電感小
領域:電動汽車、逆變裝置、電力機車、電網監控、工業級
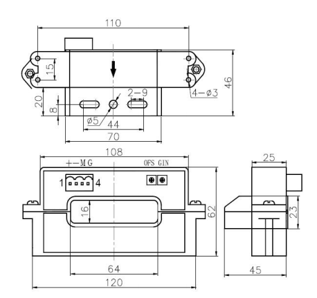
外形尺寸:

標簽:
電流傳感器